产品详情
集尿袋扣和扣眼强度测试仪
 
标准:
完全符合GB-T17257.2 “集尿袋”标准中相关条款设计制造。
技术指标:
公称规格:根据客户要求 
加载范围:0-200N,客户任意设置
 
码表:设定时间:1s~60min,   客户任意设置   精度:0.2S
净重:20kg 
铝型材框架4040;
砝码:根据客户要求配置
仪器终身免费依标准:GB-T17257.2-2009规定升级服务。
设备免费保修期为1年。

扣和扣眼的强度
要求
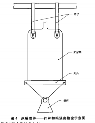
将扣扣上,悬吊贮尿袋,并在贮尿袋底部施加载荷,然后目测检查贮尿袋损伤情况。
设备
两条带子:与被测贮尿袋提供的材料型号一致,将两条带子水平固定在连接片的一端。
夹具。
载荷。
步骤
将两条带子安装到固定支撑上,使安装点在同一水平高度上,同时与被测贮尿袋问
7GB/T 17257.2--2009/I$0 8669—2:1996
的距离相等。
用扣和扣眼将贮尿袋系到带子上,如图4示。
图4尿袋附件——扣和扣眼强度检验示意图
按描述安装夹具
按描述施加载荷
将载荷作用在贮尿袋上24 h士1 h。目测检查扣和扣眼的破损情况。
检验报告
检验报告包括第7章列出的信息,和扣和扣眼是否损坏的描述
上海程斯智能科技有限公司






